製品詳細
■サイズ
| サイクロン(CY2H) | ||||||
| 品 番 | 呼サイズ | 締付範囲 | フープ | |||
| 最大径 | 最小径 | 板厚 | × | 幅 | ||
| CY2H-16 | 16 | 19 | (8) | 0.6t | × | 9mm幅 |
| CY2H-19 | 19 | 22 | (10) | |||
| CY2H-25 | 25 | 27 | 15 | |||
| CY2H-32 | 32 | 34 | 22 | |||
| CY2H-38 | 38 | 40 | 28 | |||
| CY2H-45A | 45 | 47 | 35 | |||
| CY2H-45B | 45 | 47 | 35 | 0.8t | × | 13mm幅 |
| CY2H-50 | 50 | 53 | 38 | |||
| CY2H-55 | 55 | 58 | 43 | |||
| CY2H-65 | 65 | 68 | 53 | |||
| CY2H-75 | 75 | 78 | 63 | |||
| CY2H-85 | 85 | 88 | 73 | |||
| CY2H-90 | 90 | 93 | 78 | |||
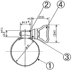
■材 質
| 番 号 | 部品名称 | 材 質 |
| ① | フープ | ステンレス(SUS-304) |
| ② | ハウジング | ステンレス(SUS-304) |
| ③ | スクリュー | ステンレス(SUS-304) |
| ④ | ハンドル | ステンレス(SUS-304) |
※手締め用に設計しておりますので工具等では締め付けないでください。
またハンドル部はカシメのみで圧着しております。抜ける虞がありますので、故意に引っ張ったり
しないでください。
■サイズ
| サイクロン(CYH) | ||||||
| 品 番 | 呼サイズ | 締付範囲 | フープ | |||
| (Φ) | 最大径 | 最小径 | 板厚 | × | 幅 | |
| CYH-16 | 16 | 19 | (8) | 0.6t | × | 9mm幅 |
| CYH-19 | 19 | 22 | (10) | |||
| CYH-25 | 25 | 27 | 15 | |||
| CYH-32 | 32 | 34 | 22 | |||
| CYH-38 | 38 | 40 | 28 | |||
| CYH-45 | 45 | 47 | 35 | |||
| CYH-50 | 50 | 52 | 40 | |||
| CYH-65 | 65 | 67 | 55 | |||
■材 質
| 番 号 | 部品名称 | 材 質 |
| ① | フープ | ステンレス(SUS-430) |
| ② | ハウジング | ステンレス(SUS-430) |
| ③ | スクリュー | スチール(三価クロメート処理) |
| ④ | ハンドル | 樹脂(POM)黄色 |
※手締め用に設計しておりますので工具等では締め付けないでください。
またハンドル部は圧入式ですので、故意に引っ張ったりしないでください。
| サイクロン CY-1 | ||||||
| 品 番 | 呼サイズ φ | 締付範囲φ | フープ 板厚×幅 |
スクリュー形状 | 適正締付 トルク |
|
| 最大径 | 最小径 | |||||
| CY-1016 | 16 | 19 | (8) | 0.6t × 9mm幅 |
六角 7mmHEX マイナス |
2.5N・m ~ 3.5N・m |
| CY-1019 | 19 | 22 | (10) | |||
| CY-1025 | 25 | 27 | 15 | |||
| CY-1032 | 32 | 34 | 22 | |||
| CY-1038 | 38 | 40 | 28 | |||
| CY-1045 | 45 | 47 | 35 | |||
| CY-1050 | 50 | 53 | 38 | 0.8t × 13mm幅 |
六角 8mmHEX マイナス |
5N・m ~ 6N・m |
| CY-1055 | 55 | 58 | 43 | |||
| CY-1065 | 65 | 68 | 53 | |||
| CY-1075 | 75 | 78 | 63 | |||
| CY-1085 | 85 | 88 | 73 | |||
| CY-1090 | 90 | 93 | 78 | |||
| CY-1100 | 100 | 103 | 88 | |||
| CY-1110 | 110 | 113 | 98 | |||
| CY-1115 | 115 | 118 | 85 | |||
| CY-1125 | 125 | 128 | 95 | |||
| CY-1130 | 130 | 133 | 100 | 六角 8mmHEX プラス |
4N・m ~ 5N・m |
|
| CY-1140 | 140 | 143 | 110 | |||
| CY-1150 | 150 | 155 | 120 | |||
| CY-1165 | 165 | 170 | 135 | |||
| CY-1180 | 180 | 185 | 150 | |||
| CY-1190 | 190 | 195 | 160 | |||
| CY-1200 | 200 | 205 | 170 | |||
| CY-1215 | 215 | 220 | 185 | |||
| CY-1225 | 225 | 230 | 195 | |||
| CY-1240 | 240 | 245 | 210 | |||
| CY-1250 | 250 | 255 | 220 | 3N・m ~ 4N・m |
||
| CY-1265 | 265 | 270 | 235 | |||
| CY-1280 | 280 | 285 | 250 | |||
| CY-1300 | 300 | 305 | 270 | |||
| CY-1315 | 315 | 320 | 285 | |||
| CY-1330 | 330 | 335 | 300 | |||
※CY-1115以上のサイズについても受注生産にてマイナスネジ仕様も対応可能です。
※φ500を締め付けるサイズまで在庫ございます。お問い合わせください。
| サイクロン CY-2 | ||||||
| 品 番 | 呼サイズ φ | 締付範囲φ | フープ 板厚×幅 |
スクリュー形状 | 適正締付 トルク |
|
| 最大径 | 最小径 | |||||
| CY-2016 | 16 | 19 | (8) | 0.6t × 9mm幅 |
六角 7mmHEX マイナス |
2.5N・m ~ 3.5N・m |
| CY-2019 | 19 | 22 | (10) | |||
| CY-2025 | 25 | 27 | 15 | |||
| CY-2032 | 32 | 34 | 22 | |||
| CY-2038 | 38 | 40 | 28 | |||
| CY-2045 | 45 | 47 | 35 | |||
| CY-2050 | 50 | 53 | 38 | 0.8t × 13mm幅 |
六角 8mmHEX マイナス |
5N・m ~ 6N・m |
| CY-2055 | 55 | 58 | 43 | |||
| CY-2065 | 65 | 68 | 53 | |||
| CY-2075 | 75 | 78 | 63 | |||
| CY-2085 | 85 | 88 | 73 | |||
| CY-2090 | 90 | 93 | 78 | |||
| CY-2100 | 100 | 103 | 88 | |||
| CY-2110 | 110 | 113 | 98 | |||
| CY-2115 | 115 | 118 | 85 | |||
| CY-2125 | 125 | 128 | 95 | |||
| CY-2130 | 130 | 133 | 100 | |||
| CY-2140 | 140 | 143 | 110 | |||
| CY-2150 | 150 | 155 | 120 | |||
| CY-2165 | 165 | 170 | 135 | |||
| CY-2180 | 180 | 185 | 150 | |||
| CY-2190 | 190 | 195 | 160 | |||
| CY-2200 | 200 | 205 | 170 | |||
| CY-2215 | 215 | 220 | 185 | |||
| CY-2225 | 225 | 230 | 195 | |||
| CY-2240 | 240 | 245 | 210 | |||
| CY-2250 | 250 | 255 | 220 | |||
| CY-2260 | 260 | 265 | 230 | |||
| CY-2280 | 280 | 285 | 250 | |||
| CY-2300 | 300 | 305 | 270 | |||
※φ500を締め付けるサイズまで在庫ございます。お問い合わせください。
■サイズ
| 低圧クランプ(AD) | ||||||
| 品 番 | 呼サイズ | 締付範囲 | ボルト | フープ | ||
| 最小径 | 最大径 | 板厚 | 板幅 | |||
| AD-1012 | 12 | 11 | 13 | M5×15 | 0.8t | 14mm |
| AD-1015 | 15 | 14 | 16 | M5×15 | 0.8t | 14mm |
| AD-1017 | 17 | 16 | 18 | M5×20 | 0.8t | 14mm |
| AD-1019 | 19 | 18 | 20 | M5×20 | 0.8t | 14mm |
| AD-1022 | 22 | 21 | 23 | M5×20 | 0.8t | 14mm |
| AD-1025 | 25 | 23 | 26 | M5×25 | 0.8t | 14mm |
| AD-1028 | 28 | 25 | 28 | M5×25 | 0.8t | 14mm |
| AD-1032 | 32 | 30 | 33 | M5×30 | 0.8t | 14mm |
| AD-1034 | 34 | 31 | 34 | M5×25 | 0.8t | 14mm |
| AD-1036 | 36 | 33 | 36 | M5×25 | 0.8t | 14mm |
■材 質
| 部品名称 | 材 質 | 表面処理 |
| フープ | 鉄製(SPCC) | ユニクロ処理 |
| ボルト | 鉄製(SWCH)/丸プラス(M5) | ユニクロ処理 |
| ナット | 鉄製(SPCC)/板ナット(M5) | ユニクロ処理 |
■サイズ
| 中圧クランプ(AE) | ||||||
| 品 番 | 呼サイズ | 締付範囲(Φmm) | ボルト | フープ | ||
| (Φ) | 最小径 | 最大径 | 板厚 | 板幅 | ||
| AE-1015 | 15 | 13 | 16 | M6×25 | 0.8t | 14mm |
| AE-1019 | 19 | 16 | 19 | M6×25 | 0.8t | 14mm |
| AE-1022 | 22 | 19 | 22 | M6×30 | 0.8t | 14mm |
| AE-1025 | 25 | 22 | 25 | M6×30 | 0.8t | 14mm |
| AE-1028 | 28 | 25 | 28 | M6×30 | 0.8t | 14mm |
| AE-1032 | 32 | 29 | 32 | M6×30 | 0.8t | 14mm |
| AE-1035 | 35 | 32 | 35 | M6×30 | 0.8t | 14mm |
| AE-1038 | 38 | 35 | 38 | M6×30 | 0.8t | 14mm |
| AE-1041 | 41 | 38 | 41 | M6×30 | 0.8t | 14mm |
| AE-1045 | 45 | 41 | 45 | M6×30 | 0.8t | 14mm |
| AE-1050 | 50 | 45 | 50 | M6×35 | 0.8t | 14mm |
| AE-1057 | 57 | 52 | 57 | M6×35 | 0.8t | 14mm |
| AE-2065 | 65 | 60 | 65 | M6×40 | 0.6t | 13mm |
| AE-2070 | 70 | 65 | 70 | M6×40 | 0.6t | 13mm |
| AE-2075 | 75 | 70 | 75 | M6×40 | 0.6t | 13mm |
| AE-2080 | 80 | 75 | 80 | M6×40 | 0.6t | 13mm |
| AE-2085 | 85 | 80 | 85 | M6×40 | 0.6t | 13mm |
| AE-2090 | 90 | 85 | 90 | M6×40 | 0.6t | 13mm |
■材 質
| 部品名称 | 材 質 | |
| フープ | Φ15~57:鉄製(SPCC) | Φ65~:ステンレス製(SUS430) |
| 0.8t×14mm幅 | 0.6t×13mm幅 | |
| * クロメート処理 | ||
| ボルト | 鉄製(SWCH)/丸プラス(M6) * クロメート処理 | |
| ナット | 鉄製(SWCH)/六角(M6) * クロメート処理 | |
■サイズ
| ステンダイヤクランプ(AND) | |||
| 品 番 | 呼称寸法φ | 締付範囲φ | トルク kg-cm |
| ステンダイヤ AND-8 | 19 | 13-23 | 50 |
| ステンダイヤ AND-10 | 25 | 15-27 | 50 |
| ステンダイヤ AND-12 | 32 | 20-35 | 50 |
| ステンダイヤ AND-20 | 38 | 27-45 | 50 |
| ステンダイヤ AND-24 | 45 | 27-50 | 50 |
| ステンダイヤ AND-28 | 50 | 35-58 | 50 |
| ステンダイヤ AND-36 | 65 | 47-70 | 50 |
| ステンダイヤ AND-40 | 70 | 57-76 | 50 |
| ステンダイヤ AND-44 | 75 | 61-84 | 50 |
| ステンダイヤ AND-52 | 90 | 73-95 | 50 |
| ステンダイヤ AND-56 | 95 | 80-100 | 50 |
| ステンダイヤ AND-60 | 100 | 85-107 | 50 |
| ステンダイヤ AND-64 | 115 | 95-115 | 50 |
| ステンダイヤ AND-72 | 125 | 105-125 | 50 |
| ステンダイヤ AND-80 | 140 | 120-140 | 50 |
| ステンダイヤ AND-88 | 150 | 130-150 | 50 |
| ステンダイヤ AND-96 | 165 | 120-165 | 50 |
| ステンダイヤ AND-104 | 175 | 130-175 | 50 |
| ステンダイヤ AND-112 | 185 | 140-185 | 50 |
| ステンダイヤ AND-115 | 190 | 145-190 | 50 |
| ステンダイヤ AND-120 | 200 | 155-200 | 50 |
| ステンダイヤ AND-128 | 215 | 170-215 | 50 |
| ステンダイヤ AND-152 | 250 | 205-250 | 50 |
■材 質
①バンドステンレス SUS316
巾 13mm 厚 0.6mm
②ハウジングステンレス SUS316
③ネジステンレス SUS316
六角対辺 10mm
受注製作品
①製品改良の為、仕様・外観を予告なく変更することがあります。 この変更によって生じる損害については、当社はその責任を負いかねますので予めご了承ください。
②ご支給金具を当社にてアセンブリした製品についての金具部分に係る自己の場合、当社はその責任を負いかねますので予めご了承ください。
③実使用を得た製品の修理、交換の場合、修理し再出荷した製品については未使用品と同等の品質を保証するものではありません。修理品に係る自己の場合当社はその責任を負いかねますので予めご了承ください。